Uritetun kahvan läppäventtiili on kevyt, sillä on suhteellisen nopea kytkentänopeus ja pieni toimintaetäisyys. Siinä on avaus- ja sulkemissanat, jotka tunnistavat helposti vaihtotilanteen.
Uritetun kahvan läppäventtiili on kevyt, sillä on suhteellisen nopea kytkentänopeus ja pieni toimintaetäisyys. Siinä on avaus- ja sulkemissanat, jotka tunnistavat helposti vaihtotilanteen.
| Rungon materiaali | Nodulaarinen valurauta |
| Malli | D81X-16Q |
| Erittely | DN50-200 |
| Nimellinen paine | 1,0/1,6/2,5 Mpa |
| Käyttölämpötila | 0-80 °C |
| Sovellettava media | vettä |
| Suunnittelustandardit | GB/24924-2016 |
Tuotteen yleiskatsaus
Tämä venttiili on kuminen (NBR) tiivistetty läppäventtiili, jota käytetään laajalti vesi- ja viemäriputkistojärjestelmissä sähkövoimassa, hydrauliikassa, metallurgiassa, kemianteollisuudessa, kaupunkirakentamisessa ja muilla teollisuudenaloilla avaus- ja sulkemis- tai säätölaitteena väliaineen virtauksen ohjaamiseksi. Uritettu (puristin) läppäventtiili on uudentyyppinen liitäntäventtiili, joka on suunniteltu ja valmistettu ottamalla käyttöön samanlaisia edistyksellisiä tuotteita Yhdysvalloista ja Saksasta.
Ominaisuudet
Se on nopea, helppo ja turvallinen asentaa, sitä ei rajoita asennuspaikka, se on kätevä putkistojen ja venttiilien huoltoon, siinä on tärinä- ja äänieristys ja se voittaa putkilinjojen koaksiaaliliitoksen aiheuttaman poikkeaman tietyllä kulma-alueella. Se ratkaisee lämpötilaerojen aiheuttaman lämpölaajenemisen ja supistumisen edut.
Tuoteparametrit
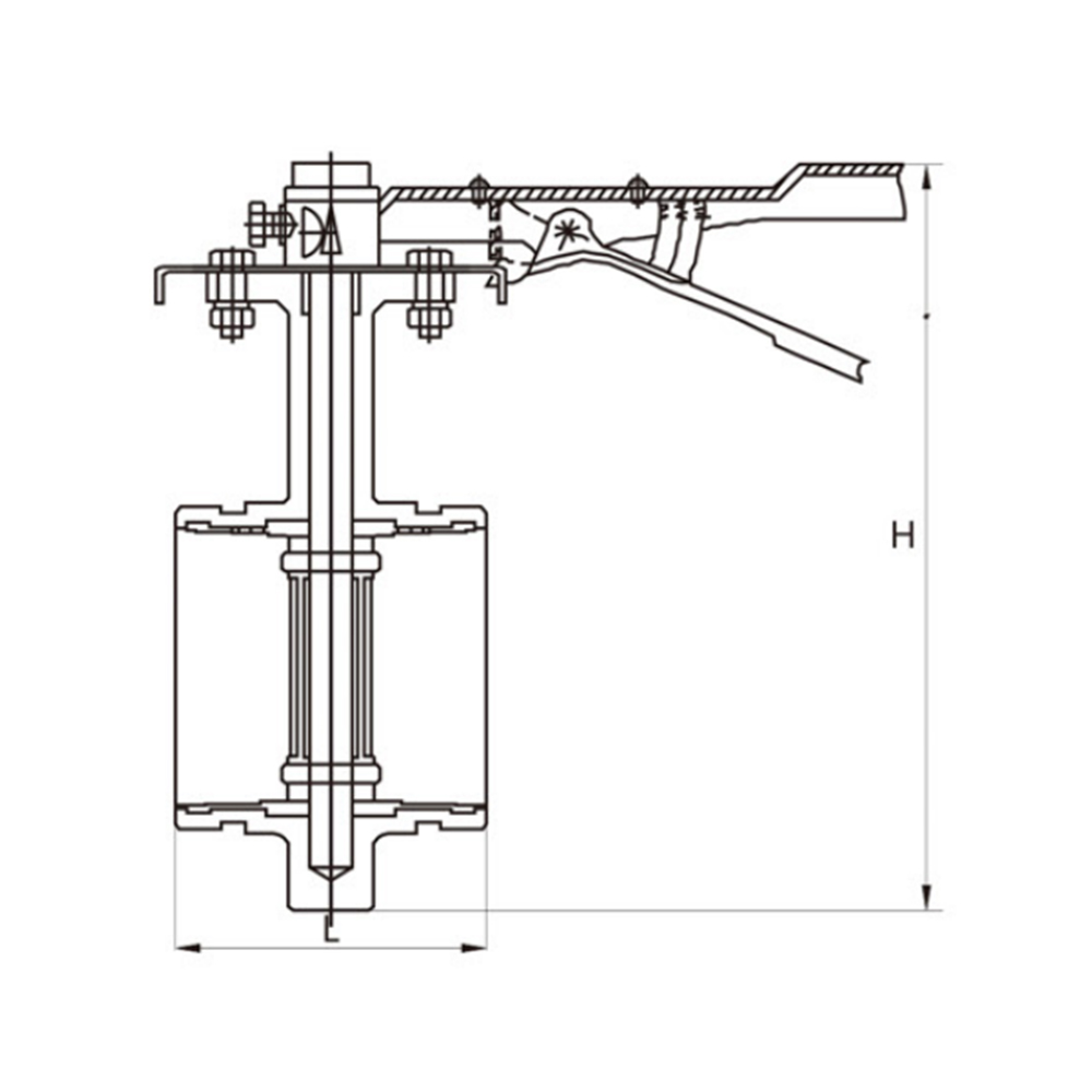
| D81X-16Q | DN | 50 | 65 | 80 | 100 | 125 | 150 | ||
| L | 80 | 80 | 80 | 102 | 110 | 110 | |||
| H | 180 | 195 | 215 | 260 | 285 | 315 | |||
| Ulompi ympyrä | 60 | 76 | 89 | 108 | 114 | 140 | 159 | 165 | |
TIETOJA Changshuista
Changshui Technology Group Co., Ltd.is a valve integrating R&D, manufacturing, sales and service The manufacturer is currently one of the main suppliers of general-purpose valves in China. The main products are: gate valves, globe valves, butterfly valves, ball valves, check valves, regulating valves, pressure reducing valves, diaphragm valves, plug valves, plunger valves, drains Valves, hydraulic control valves, etc. Laadukkaat tuotteet ovat saaneet kiitosta ja arvostusta eri teollisuudenaloilla, ja niitä käytetään laajasti rakentamisessa, lämmityksessä, vesihuollossa, öljy-, kemian-, sähkö- ja muilla aloilla! Yrityksen tarkoituksena on edistää yhteiskuntaa korkealaatuisilla tuotteilla. "Tavoitteemme on tehdä käyttäjistä tyytyväisiä". Laatupolitiikkamme on: "Täytä käyttäjien tarpeet ja odotukset tuotteiden laadusta ja harppaus eteenpäin Ensiluokkainen laadunhallintataso, valmistaa ensiluokkaisia tuotteita, luomalla ensiluokkaisia palveluita", "CSHUValve Industry on valmis työskentelemään uusien ja vanhojen ystävien ja kollegoiden kanssa yhteiskunnassa sekä käyttäjien kotona ja ulkomailla liittymään jälleen käsiin, ja Floor, luo uutta kunniaa!
Johdatus läppäventtiilin komponentteihin Läppäventtiili on monipuolinen ja eri teollisuudenaloilla laajalti käytetty venttiilityyppi, joka tunne...
READ MOREYleiset sulkuventtiiliongelmat Luistiventtiilit ovat olennaisia komponentteja erilaisissa teollisuus- ja asuinjärjestelmissä, ja ne tarjoavat lu...
READ MORETakaiskuventtiilien ymmärtäminen Takaiskuventtiili on mekaaninen laite, joka sallii nesteen tai kaasun virtauksen vain yhteen suuntaan. Sen ensi...
READ MORE1. Yleiskuva pallografiittivaluraudasta Pallorautavalu, joka tunnetaan myös pallomaisena valuraudana tai pallografiittiraudana, on valurautatyyp...
READ MORE1. Venttiilien ja istuinten ymmärtäminen Venttiilit ja tiivisteet ovat olennaisia osia nesteiden tai kaasujen virtauksen ohjauksessa putkistoiss...
READ MORE